高迈测控
在线客服系统

雷达技术

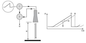
     FMCW 雷达发出高频波段的信号,在其测量相域内,雷达波的频率线性增高(称之为扫频)。信号的发射、从介质表面反射到接收对应着一个时间差�.t。时间差, �.t=2d/c,d 表示雷达和介质表面的距离,c 为雷达波在介质表面上方的行进速度,即光速。通过比对实际传送频率和接收频率的差值 Δf,进行信号处理。该频率差和距离成正比。频率差越大也就表明距离越大,反之亦然。经过快速傅立叶转换(FFT),频率差 �.f 被转换成频谱,并以此计算得出距离。物位结果由罐高及测量距离差得出。


 
图 1-1: FMCW 雷达测量原理
1 变送器   2 混频器   3 天线   4 频率的变化与至介质表面的距离成正比  5 时间差, Δt  
6 频率差,Δf   7 传输的频率  8 接收的频率  9 频率  10 时间
 
 
 
    科隆测量仪器拥有超过27年的调频连续波雷达的生产及研发经验,是世界上第一家生产过程级调频连续波雷达的仪表公司。系列调频连续波雷达产品使用最新的80GHz技术,拥有最好的聚焦频率,可搭配小尺寸天线,透镜天线无死区,免疫冷凝和附着物,远距离测量而不受环境因素的干扰。
  1. 调频连续波雷达相较于其他测量原理的雷达是真正意义上的连续测量的物位系统。
  2. 80GHz拥有更小的波束角,DN70的透镜天线波束角仅4°。
  3. PEEK材质平面透镜天线无死区,不受冷凝和介质挂料的影响。
  4. 天线本身不深入罐体,在某些应用下可在短脖处加装球阀进行在线插拔以方便维护。
  5. 拥有卫生型连接,符合EHEDG和3A规范,适用于各种卫生型行业,可在线CIP和SIP。
  6. 多种防爆要求用于各种防爆场合。
  7. 一体式及分体式可选,分体式最远可达100米。
  8. 特殊型号耐温可达200℃,40barg。
  9. 可选PEEK材质的法兰保护盘应对腐蚀性介质。
  10. 独特的空频谱记录功能,以方便快捷的消除罐内各种干扰物。
  11. 独特的罐底跟踪模式,适用于测量更低介电常数的介质的物位。


联系我们

    • 公司名称:济南高迈测控工程有限公司

    • 公司地址:山东省济南市高新区世纪大道15612号理想嘉园2-1813号

    • 电话: 0531-88889299

    • 传真: 0531-88889219

    • 邮箱:gaomax@yeah.net

    • 网址:http://www.gao-max.net/